Обзор систем впрыска

Страница 2

Распределительные ТНВД

Распределительные ТНВД оснащаются единым нагнетающим элементом высокого давления для всех цилиндров. Шиберный топливоподкачивающий насос нагнетает топливо в камеру 6 высокого давления, которое создается с помощью аксиального плунжера 4 (рис. 7.3.) или нескольких радиальных плунжеров 4 (рис.7.4.). Вращающийся центральный плунжер-распределитель открывает и закрывает распределительные отверстия, направляя топливо через распределительный паз 8 к отдельным форсункам двигателя. Продолжительность впрыскивания может изменяться перемещением регулирующей втулки 5 (рис. 7.3) или с помощью электромагнитного клапана 5 высокого давления (рис.7.4.).

а) Распределительные ТНВД с аксиальным движением плунжера

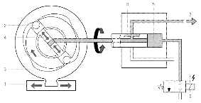
Кулачковая шайба 3 (рис. 7.3.), жестко соединенная с плунжером-распределителем, приводится во вращение от двигателя. Число кулачков, выполненных в виде выступов на рабочей поверхности шайбы, соответствует числу цилиндров двигателя. Шайба обкатывается по роликам 2, при наезде на которые кулачки приводят вращающийся плунжер-распределитель в дополнительное возвратно-поступательное движение. По мере вращения приводного вала плунжер-распределитель совершает столько ходов, сколько требуется по числу цилиндров двигателя.

В аксиальных ТНВД с механическим центробежным регулятором или исполнительным механизмом, управляемым электроникой, величины активного хода плунжера и цикловой подачи определяет положение регулирующей втулки 5 (рис.7.3.). Установка момента начала впрыскивания происходит поворотом роликового кольца на необходимый угол 1 (рис.7.3).

Рис 7.3 Принцип действия распределительного ТНВД с аксиальным движением плунжера

б) Распределительные ТНВД с радиальным движением плунжеров

Также снабжен кулачковой шайбой 3, только, в отличие от аксиальных ТНВД, не торцевой, а кольцевой (рис.7.4.). Кроме того, имеется от двух до четырех радиальных плунжеров 4, создающих высокое давление топлива. С помощью таких ТНВД могут достигаться более высокие значения давления впрыскивания, чем у аксиальных ТНВД. Они отличаются к тому же более высокой механической прочностью.

Рис. 7.4. Принцип действия распределительного ТНВД с радиальным движением плунжера и распределением топлива с помощью электромагнитного клапана

Регулировка момента впрыскивания может осуществляться сдвигом кулачковой шайбы. Момент начала впрыскивания и продолжительность впрыскивания у этих ТНВД регулируется исключительно электромагнитным клапаном.

в) Распределительные ТНВД, регулируемые электромагнитным клапаном. В таких ТНВД дозирование цикловой подачи, равно как и изменение момента начала впрыскивания, происходит с помощью электромагнитного клапана высокого давления, оснащенного системой электронного регулирования. Один или два электронных блока этой системы (для ТНВД и двигателя) в нужный момент выдают управляющие и распределительные сигналы. Если электромагнитный клапан закрыт, давление в камере 6 высокого давления нарастает. Если он открыт, давление не увеличивается и топливо не попадает в магистрали, ведущие к форсункам.

Система индивидуальных ТНВД

Индивидуальные ТНВД, каждый из которых рассчитан на работу с одной форсункой, изначально применялись для двигателей судов, тепловозов, строительных машин, а также малых моторов. Они используются, кроме того, при эксплуатации дизелей на вязких видах дизельного топлива.

Рабочий процесс аналогичен происходящему в рядных ТНВД типа РЕ. Индивидуальные насосы — как все одноцилиндровые системы — не имеют собственного кулачкового вала. Их приводные кулачки расположены на распределительном валу механизма газораспределения дизеля.

У больших двигателей гидромеханический или электронный регулятор частоты вращения коленчатого вала расположен непосредственно на картере.

Величина цикловой подачи, определяемая регулятором частоты вращения, устанавливается с помощью рейки, единой для нескольких ТНВД.

Из-за прямой связи плунжера с кулачковым валом установка момента начала впрыскивания простым поворотом вала невозможна. Здесь перестановка угла в пределах нескольких градусов поворота достигается установкой промежуточного элемента. Возможно также управление при помощи электромагнитного клапана.

Рис. 7.5 Принцип действия насос-форсунок

Страницы: 1 2 3

Разделы

Copyright © 2026 - All Rights Reserved - www.transpovolume.ru